API Documentation
Eonum provides a RESTful HTTPS API access to the Casematch platform with JSON responses. Configuration of rules and user settings is done in the browser based front-end. Most API calls are private and hence clients ĥave to authorize themselves. If you have any questions or need help to integrate our platform into your system please send an email to info@eonum.ch.
To test the API on the command line using curl:
Choose a year / SwissDRG version
Via the URL path /:year (e.g. /2024), the API allows you to select the SwissDRG version by its application year to use for your requests. The available years/versions can be retrieved under: /versions.json.Choose your language
Most API calls provide the parameter locale which can be used to select a language.locale=[de|fr|it|en]
Provided languages:
| de | German - fully supported, default and fallback language |
| fr | French - fully supported |
| it | Itailan - partially supported. no translations for interface texts and rules |
| en | English - partially supported. no translations for ICD/CHOP/DRG catalogues and rules. |
Authentication
- Automatic expiration after some hours.
- Login invalidates old authentication token and creates a new one.
- Logout invalidates the authentication token.
- Password or user setting changes invalidate the old token and generate a new one.
Login
Method: POST
Login using user name and password. Retrieve an authentication token.
Parameters:
| user_name | user name |
| password | password as set in the web interface |
Sample login using curl:
Use the API with the authentication token
In order to authenticate yourself for API calls that require authentication you have to add the user authentication token as a query string parameter:Logout
Method: POST
Logout using the authentication token. The token is invalidated and can no longer be used:
Parameters:
| user_token | user authentication token. |
Sample logout using curl:
The patient case URL format
Many API calls (all single patient case POST functions) provide the parameter pc which is a description of a patient case with all relevant information for the SwissDRG Grouper . Since 2018 the preferred format for patient cases is the new SwissDRG Batch / URL 2017 format as documented here: SwissDRG Batchgrouper Format 2017 . The URL 2017 format differs from the Batchgrouper 2017 format by the use of different (URL compatible) separators: '_' (underscore) instead of ';' (semicola) for top level column separators, '-' (hyphen) instead of '|' (pipe) for list item separators, '$' (dollar sign) instead of ':' (colon) for structure separators. The new 2017 format includes admission and exit dates and drugs (ATC) codes necessary for the calculation of supplements (Zusatzentgelte) and used as input in some of our prediction models. The same format (URL 2017) can be used when creating links to the WebGUI version of the Casematch platform. (Code proposals : /coding_proposals?locale=de , Case analysis : /patient_cases/analyzenew?locale=de ). ALL the characters used in the URL patient case format are allowed in an URI and do not have to be escaped. If the URL format is invalid and cannot be parsed an HTML status 400 with the following response is sent:
However the old format is still available. You can find further documentation on the old format and the used variables (still applicable to the new format) and their calculation in the SwissDRG Grouper documentation ( German , French , Italian )
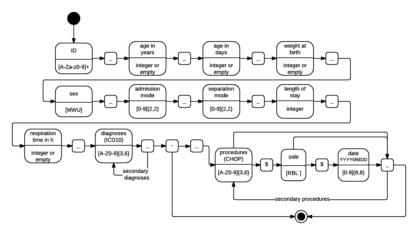
The old / deprecated URL format is defined by the following state chart:

AI34221_65_0_0_M_01_00_1_0_I48.10_Z921_-_8954$$20141212_
XY9868098_23_0_0_W_01_00_1_0_A09.9_O091_-_
345897345_24_0_0_M_11_07_3_0_K85.11_-_
345897345_24_0_0_M_11_07_3_0_K85.11_J80_I490_-_889720$B_99B712$$20141215_0017_
Note:
The variables in detail:
- case_number - Fallnummer
-
Beliebiger eindeutiger Schlüssel. Bei Import BFS ist dies die Variable 4.6.V01 Fallnummer der Fallkostenstatistik
Datentyp : string - age_years - Alter in Jahren bei Eintritt
-
BFS-medstat: "1.1.V03"
BFS Variable 1.1.V03 - Alter in erfüllten Jahren (Eintrittsdatum-Geburtsdatum) bei
Spitaleintritt
Spiges: "alter: Alter bei Eintritt"
Alter in erfüllten Jahren (Eintrittsdatum-Geburtsdatum) bei Spitaleintritt
Datentyp : number
Range: von 0.0 bis 135.0 - age_days - Alter in Tagen
-
BFS-medstat: "age_days"
Alter bei Eintritt berechnet aus den BFS Variablen 1.2.V01 und 1.1.V02.
Spiges: "alter_u1: Alter in Tagen von Kindern unter 1 Jahr"
Alter bei Eintritt in Tagen. Anzugeben für Kinder, die weniger als ein Jahr alt sind. Der Eintrittstag ist nicht mitzuzählen (Berechnung: Eintrittstag - Geburtstag). Ist der Wert 0 (beim Fall einer Geburt), so muss dieser Wert auf 1 gesetzt werden (von 0 auf 1). Der Wert 0 ist nicht erlaubt. Die Angabe wird für die Gruppierung der SpiGes-Daten nach SwissDRG, TARPSY, ST-Reha und SPLG zwingend benötigt. Beim Upload auf die SpiGes-Plattform ist sie jedoch freiwillig. Beim Download wird sie automatisch ergänzt.
Datentyp : number
Range: von 0.0 bis 365.0 - adm_weight - Aufnahmegewicht
-
BFS-medstat: "4.5.V01"
BFS Variable 2.2.V04 / 4.5.V01
Spiges: "aufnahmegewicht"
in Gramm, Aufnahmegewicht eines Säuglings (eines Kindes bis 12 Monate!). Bei einer Geburt während der aktuellen Hospitalisierung muss das Geburtsgewicht (Variable geburtsgewicht) dem Aufnahmegewicht im aktuellen Feld entsprechen
Datentyp : number
Range: von 0.0 bis 99999.0 - sex - Geschlecht
-
BFS-medstat: "1.1.V01"
BFS Variable 1.1.V01 (1 -> M, 2 -> W)
Spiges: "geschlecht"
Geschlecht des Individuums. Bei Geschlechtsumwandlungen ist das bei Spitaleintritt geltende zivilrechtliche Geschlecht anzugeben.
Datentyp : string
Possible values: M W U
Value descriptions: männlich weiblich unbekannt - adm_mode - Aufnahmeart
-
BFS Variablen 1.2.V03 und 1.2.V02 (Umrechnung gemäss Grouperdokumentation SwissDRG)
Datentyp : string
Possible values: 01 11 06 99
Value descriptions: Normal Verlegt (Aufenthalt länger als 24 Stunden im verlegenden Spital) Verlegt (Aufenthalt kürzer als 24 Stunden im verlegenden Spital) Unbekannt - sep_mode - Entlassart
-
BFS Variable 1.5.V02 und 1.5.V03 (Umrechnung gemäss SwissDRG Grouperdokumentation)
Datentyp : string
Possible values: 07 06 04 00 99
Value descriptions: Verstorben Verlegt (in anderes Spital) Gegen ärztlichen Rat beendet Normal Unbekannt - los - Verweildauer in Tagen
-
Berechnung anhand der BFS Variablen 1.5.V01, 1.2.V01 und 1.3.V04
Datentyp : number
Range: von 1.0 bis 99999.0 - hmv - Beatmungsdauer in Stunden
-
BFS-medstat: "4.4.V01"
BFS 4.4.V01 - Die Dauer der Beatmung wird nach Intensivstation gemäss den
Regeln des aktuell gültigen Kodierungshandbuches berechnet.
In diesem Feld gibt es keine Angaben zur Art der künstlichen
Beatmung.
Spiges: "beatmung: Dauer der künstlichen Beatmung"
Anzahl Stunden, Die Dauer der Beatmung wird nach Intensivstation gemäss den Regeln des aktuell gültigen Kodierungshandbuches berechnet. In diesem Feld gibt es keine Angaben zur Art der künstlichen Beatmung. Definition übernommen von der Schweizerischen Gesellschaft für Intensivmedizin (SGI). Die Daten sind im Datensatz der SGI vorhanden.
Datentyp : number
Range: von 0.0 bis 99999.0 - main_diagnosis - Hauptdiagnose
-
BFS Variable 1.6.V01 - Die Hauptdiagnose ist als derjenige Zustand definiert, der am
Ende des Spitalaufenthalts als Diagnose feststeht und der
Hauptanlass für die Behandlung und Untersuchung des
Patienten war. Sind mehr als ein Zustand aufgeführt, ist
derjenige auszuwählen, der (medizinisch gesehen) den
grössten Aufwand an Mitteln erforderte. Erfolgte keine
Diagnosenstellung, dann ist das Hauptsymptom, der medizi-
nisch schwerwiegendste abnorme Befund oder die
schwerwiegendste Gesundheitsstörung als Hauptdiagnose
auszuwählen.
Die Vergabe der Kodes erfolgt nach den Richtlinien des BFS.
Die Angabe kann bis zu fünfstellige Kodes umfassen.
Entspricht den fünf ersten Stellen der Variable 4.2.V010
Datentyp : code - diagnoses - Diagnosen
-
Haupt- und Nebendiagnosen
Datentyp : Array Of code - procedures - Prozeduren
-
BFS Variablen 4.3
Datentyp : Array Of code
Sending BFS data
All POST API calls providing the parameter
pc
alternatively support the retrieval of patient data using the more extensive format used by the BFS / OFS (Bundesamt für Statistik).
Using the more detailed BFS format allows for more detailed and extended checks in the rule based analysis.
The format is documented here:
German
or
French and Italian.
BFS data is sent using the following parameters. All parameters represent one line (delimited with '|') in a BFS formatted export:
| mb | MB minimal data set. Required. |
| md | MD data set. Diagnoses and procedures. Optional. |
| mn | MN data set. Newborns. Optional |
| mp | MP data set. Psychiatric cases. Optional |
| mf | MF data set. Case costs. Optional |
API call 'statistical_analyses' - Statistical analysis of a coding of a patient case
Creates a statistical analysis of a coding of a patient case and responds with a JSON representation of the result. The result of the analysis is not persisted on the server.URL: api/v1/statistical_analyses
Method: POST
Example call:
The API call 'analyze' provides the core functionality of Casematch for the analysis of single patient cases. The provided patient case is grouped and analyzed with the statistical model and the user defined rules.
Parameters:
| locale | language (optional), See here |
| pc | patient case in the URL format. See here |
| mb, [md, mn, mp, mf] | patient case in the BFS format. See here |
| user_token | user authentication token. See here |
Pretty printed sample response:
The second component are the 'grouper_results'. All grouper outputs are stored here:
- drg - DRG
-
Gruppierte DRG
Datentyp : code - mdc - MDC
-
MDC - Major Diagnostic Category
Datentyp : string - pccl - PCCL
-
PCCL - Patient Complexity and Comorbidity Level
Datentyp : number
Range: von 0.0 bis 4.0 - ecw - Effektives Kostengewicht
-
Effektives Kostengewicht nach Abzug/Zuschlag aller Ab- und Zuschläge
Datentyp : number
Range: von 0.0 bis 99999.0 - partition - Partition
-
DRG Partition (M -> Medizinisch, A -> Andere, O -> Operativ)
Datentyp : string
Possible values: M O A
Value descriptions: Medizinisch Operativ Andere - case_flag - Abrechnungsstatus
-
Datentyp : string
Possible values: 01 02 03 04 05
Value descriptions: Normallieger Oberer Outlier Unterer Outlier Verlegungsabschlagspflichtig Unbewertete DRG
- stat_drg - Statistische DRG
-
Wahrscheinlichste DRG gemäss dem statistischen Modell / Klassifikator. Dies ist die DRG mit der grössten Ähnlichkeit zu diesem Fall.
Datentyp : code - rank - Ähnlichkeitsindex
-
Ähnlichkeitsindex: Rang der gruppierten DRG im berechneten Modell. Ein Rang von 1 bedeutet, dass die gruppierte DRG auch die ähnlichste DRG ist. In diesem Fall stimmen das statistische Modell und die DRG-Gruppierung überein.
Datentyp : number
Range: von -1.0 bis 1000.0 - top_ranks - Ähnliche DRGs
-
Liste der 5 ähnlichsten DRGs gemäss dem statistischen Modell.
Datentyp : Array Of string - likelihood - Ähnlichkeit
-
Ähnlichkeit dieses Falles zur gruppierten DRG. Berechnet als Zuweisungswahrscheinlichkeit im statistischen Modell. Der Wert liegt zwischen 0 und 1. Die Ähnlichkeitswerte aller DRGs für einen Fall summieren sich auf 1.
Datentyp : number
Range: von 0.0 bis 1.0 - model_train_number - Fallzahl für DRG-Modell
-
Datentyp : number
Range: von 0.0 bis
API call 'rule_based_analysis' - Rule based analysis of a coding of a patient case
Creates a rule based analysis of a coding of a patient case and responds with a JSON representation of the result. The analysis result is not persisted on the server.URL: api/v1/rule_based_analyses
Method: POST
Example call:
The resource 'rules_analysis' provides a list of all rules that apply to the provided coding. Rules can also be based on the statistical analysis of the patient case. Hence a combined analysis (rule-based and statistical) based only on this resource can be made. The configuration of all rules is done in the web front end and is not a part of the API. Each rule has an associated unique name, a color, a category name, a level (info, warning, error) and a description. The description may contain HTML markup (currently only links).
Parameters:
| locale | language (optional), See here |
| pc | patient case in the URL format. See here |
| mb, [md, mn, mp, mf] | patient case in the BFS format. See here |
| user_token | user authentication token. See here |
Pretty printed sample response:
API call 'coding_proposals' - Propose codes for a patient case
Creates coding proposals for a coding of a patient case and responds with a JSON representation of the resource. The resource is not persisted on the server.URL: api/v1/coding_proposals
Method: POST
Example call:
Login required.
The API call 'propose' generates a list of related diagnoses and procedures based on the context of the provided coding (parameter 'pc').
Parameters:
Pretty printed sample response:
API call 'predictions' - Predict length of stay and scenarios for a patient case
Predicts the length of stay and scenarios for a patient case in the context of a precoding and responds with a JSON representation of the resource. October 2019: Currently the scenarios / simulations is just a mockup. Integration with the ML backend is planned for Winter 2019/2020. The resource is not persisted on the server.URL: api/v1/predictions
Method: POST
Example call:
Login required.
The API call 'predictions' generates predictions based on the context of the provided patient case (parameter 'pc').
Parameters:
Pretty printed sample response: